央行公告称,10月11日以固定利率、数量招标方式开展了1160亿元7天期逆回购操作策略吧,操作利率1.40%,投标量1160亿元策略吧,中标量1160亿元。Wind数据显示,今日无逆回购到期,据此计算策略吧,单日净投放1160亿元。
举报 第一财经广告合作,请点击这里此内容为第一财经原创,著作权归第一财经所有。未经第一财经书面授权,不得以任何方式加以使用,包括转载、摘编、复制或建立镜像。第一财经保留追究侵权者法律责任的权利。如需获得授权请联系第一财经版权部:banquan@yicai.com 相关阅读
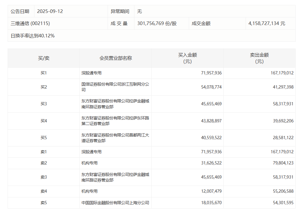
三维通信今日跌4.72%,有2家机构专用席位净卖出9137.67万元三维通信今日跌4.72%,有2家机构专用席位净卖出9137.67万元
0 09-12 16:29
晓程科技今日涨3.65%,有4家机构专用席位净卖出1.16亿元晓程科技今日涨3.65%,有4家机构专用席位净卖出1.16亿元
0 09-12 16:29
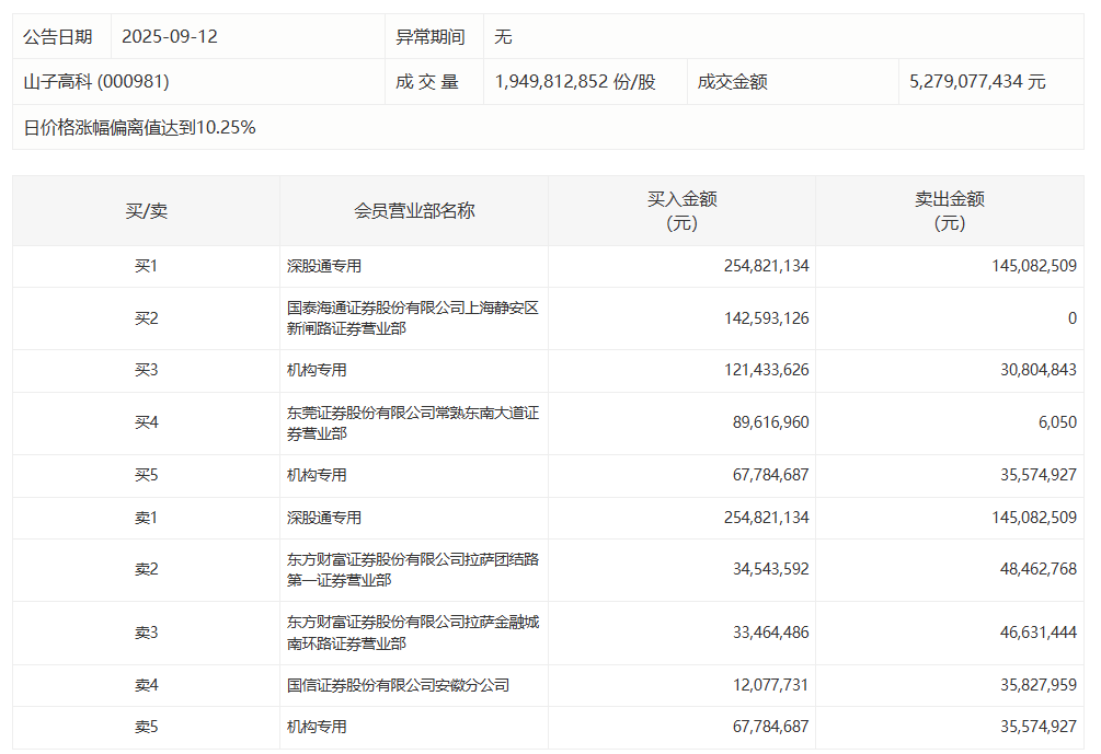
山子高科今日涨停,2家机构专用席位净买入1.23亿元山子高科今日涨停,2家机构专用席位净买入1.23亿元
0 09-12 16:28
猎豹移动第二季度营收2.952亿,亏损收窄猎豹移动第二季度营收2.952亿,亏损收窄
0 09-11 18:55
海光信息今日20cm涨停策略吧,有2家机构专用席位净卖出4.38亿元海光信息今日20cm涨停,有2家机构专用席位净卖出4.38亿元
0 09-11 17:05 一财最热 点击关闭睿迎网提示:文章来自网络,不代表本站观点。